
联系人:徐经理
电话:139 6412 8213
地址:济南市长清区大学科技园
网址:www.mobilesann.com
承揽铅门窗工程过程中,除了常见的平开香蕉性爱视频窗系列、平开下悬香蕉性爱视频窗系列、推拉香蕉性爱视频窗系列、固定香蕉性爱视频窗(圆弧窗)系列之外,铅防护门也是不可缺少的配套产品,例如推拉门系列、平开门系列。推拉门又分双扇推拉门、四扇推拉门;平开门分内平开门、外平开门,内、外平开门又可以划分出单扇内、外平开门和双扇内、外平开门。这其中尤其以双扇平开门结构类型比较多,制作起来也比较复杂,但如果香蕉草莓视频了解了双扇平开门节点图,制作双扇平开门的困难就迎刃而解了。
双扇平开香蕉视频污污版用料主要有框、门扇(内开扇、外开扇)中梃、压条。窗权、浮中梃、折叠拼条、中梃是制作双扇平开门的过渡辅料,辅料不同双扇平开门的结构也就不同。双扇平开门系列中内开结构占的比例比较大,所以平开门扇大部分用内平开扇料。
下面香蕉草莓视频就先从内平开双扇门结构讲起,见图1。

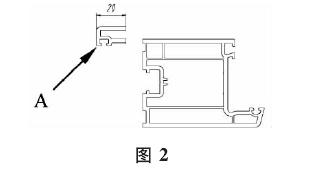
图1的内平开双扇防辐射铅门结构主要用料为门框料、内开门扇料以及中问过渡辅料折叠拼条(以下的节点图不再列出玻璃压条、钢衬、以及玻璃和密封条),这是一个非常典型和常用的双扇门结构形式,它配套的过渡辅料为折叠拼条,主要的加工要点是两组门扇正常组焊后将其中一扇(见图2)A处沿门扇高度方向锯掉20mm宽,然后在此处镶嵌上折叠拼条。这种双扇门的优点是:结构紧凑、美观、强度好、密封效果好。
这种双扇内开门的门扇宽度成品尺寸计算方法为:

以型材为例:门框料小面50mm,所有的搭接部位为8mm,门的总宽度为w,门扇宽度为W扇。
则W-2X50+2X8=2W扇 一(20-5一2)
W扇=W/2-35.5
然后再加焊量6mm,即门扇的下料尺寸W扇=W/2-29.5。
组焊完毕后再将右门扇按图2所示锯掉20mm即可。